本篇文章老刘测评测评了他家香港内地直连线路Linux VPS,配置:2核2G内存40GB硬盘3TB月流量,操作系统可选CentOS、Ubuntu和Debian,供网友们参考。亚洲云端Asia Cloud Ltd.怎么样?亚洲云端Asia Cloud Ltd.好不好?亚洲云端Asia Cloud Ltd.专业提供香港VPS,香港VPS服务器租用等业务,亚洲云端Asia Cloud Ltd.可选SSD VPS或大容量VPS,三网直连内地(含CN2 GIA),高优先度路由连接全球骨干网络。如需购买,前往:https://asia.cloud/cn/linux-vps.php

先看看三网ping测试结果,如下所示。延迟平均64.2ms。

国内三网测速情况如下:

机器配置信息测试如下,与官方描述一致。同时IO性能达成511.7MB/s,还不错。

丢包率测试结果,有2处节点丢包,最大也不超过3%,合理范围内。

路由去程跟踪测试结果:电信走AS4134线路,59.43节点CN2线路;联通走AS4837线路;移动走AS9808线路,具体如下:



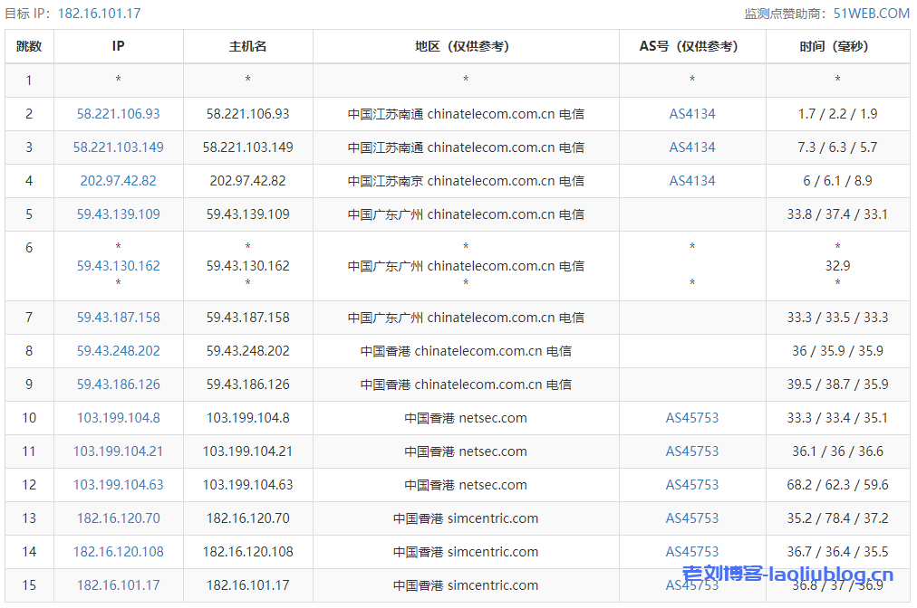
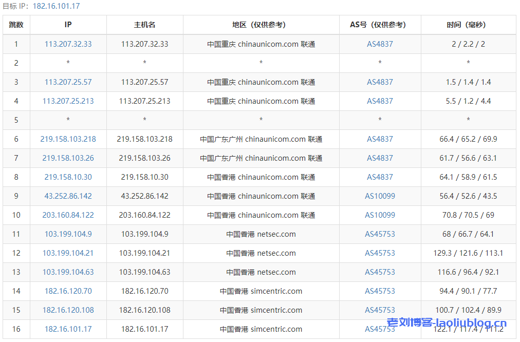
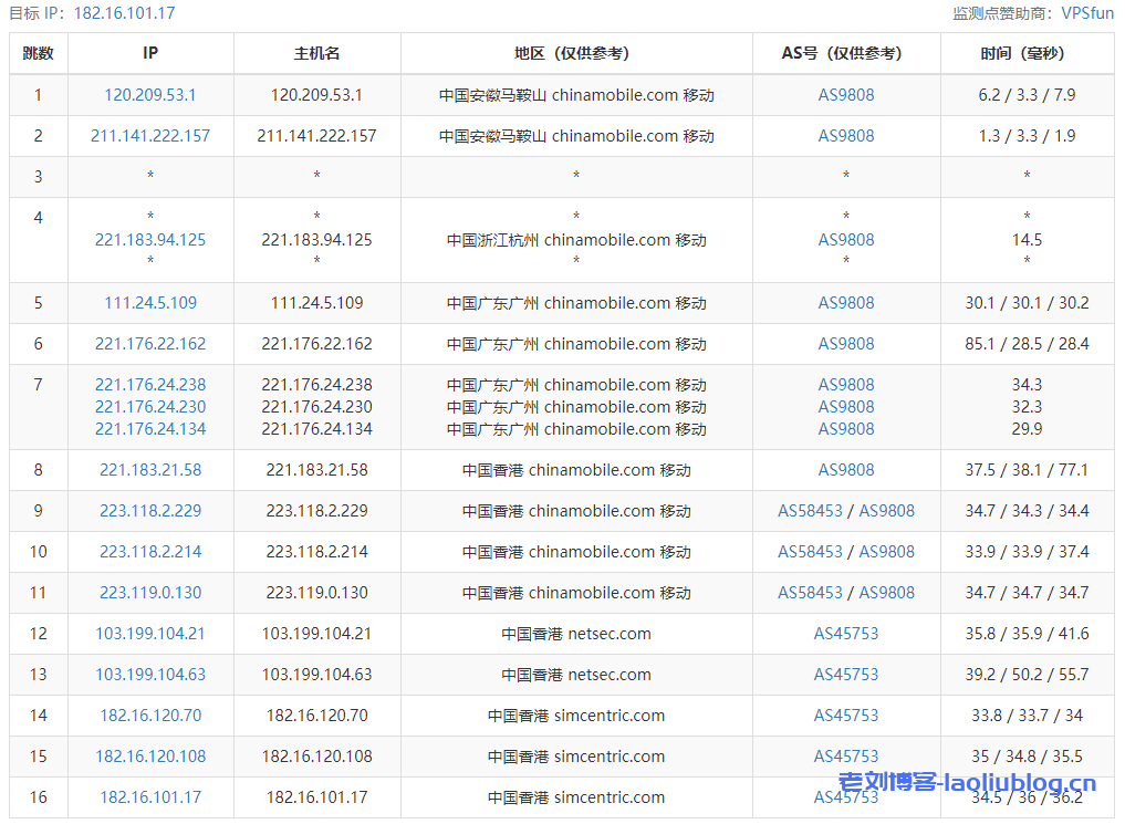
路由回程跟踪测试结果:三网都走了59.43节点,且全场都没有202.97,因此三网回程都是CN2 GIA线路!
---------------------------------------------------------------------- 广州电信 traceroute to 14.215.116.1 (14.215.116.1), 30 hops max, 32 byte packets 1 182-16-100-1.asia.cloud (182.16.100.1) 0.94 ms AS45753 中国, 香港, simcentric.com 2 * 3 182.16.120.73 0.86 ms AS45753 中国, 香港, simcentric.com 4 182.16.120.65 0.63 ms AS45753 中国, 香港, simcentric.com 5 103.199.104.70 1.18 ms AS45753 中国, 香港, netsec.com 6 183.91.50.213 1.92 ms AS4809 中国, 香港, chinatelecom.com.cn, 电信 7 59.43.248.193 4.32 ms * 中国, 香港, chinatelecom.com.cn, 电信 8 59.43.187.177 5.09 ms * 中国, 香港, chinatelecom.com.cn, 电信 9 * 10 59.43.130.121 8.37 ms * 中国, 广东, 广州, chinatelecom.com.cn, 电信 11 202.97.82.38 12.71 ms AS4134 中国, 广东, 广州, chinatelecom.com.cn, 电信 12 113.96.0.117 11.07 ms AS58466 中国, 广东, 广州, chinatelecom.com.cn, 电信 13 113.96.4.230 13.12 ms AS58466 中国, 广东, 广州, chinatelecom.com.cn, 电信 14 183.2.167.233 9.11 ms AS58466 中国, 广东, 广州, chinatelecom.com.cn, 电信 15 183.56.128.10 10.75 ms AS58466 中国, 广东, 广州, chinatelecom.com.cn, 电信 16 14.215.116.1 9.76 ms AS58466 中国, 广东, 广州, chinatelecom.com.cn, 电信 ---------------------------------------------------------------------- 上海电信 traceroute to 101.95.120.109 (101.95.120.109), 30 hops max, 32 byte packets 1 182-16-100-1.asia.cloud (182.16.100.1) 1.41 ms AS45753 中国, 香港, simcentric.com 2 * 3 182.16.120.73 0.61 ms AS45753 中国, 香港, simcentric.com 4 182.16.120.65 0.51 ms AS45753 中国, 香港, simcentric.com 5 103.199.104.74 2.69 ms AS45753 中国, 香港, netsec.com 6 103.199.104.45 0.96 ms AS45753 中国, 香港, netsec.com 7 203.12.205.241 1.63 ms AS4809 中国, 香港, chinatelecom.com.cn, 电信 8 59.43.249.9 2.18 ms * 中国, 香港, chinatelecom.com.cn, 电信 9 59.43.249.26 28.03 ms * 中国, 上海, chinatelecom.com.cn, 电信 10 59.43.187.69 28.65 ms * 中国, 上海, chinatelecom.com.cn, 电信 11 59.43.138.53 33.52 ms * 中国, 上海, chinatelecom.com.cn, 电信 12 101.95.120.109 29.22 ms AS4812 中国, 上海, chinatelecom.com.cn, 电信 ---------------------------------------------------------------------- 厦门电信 traceroute to 117.28.254.129 (117.28.254.129), 30 hops max, 32 byte packets 1 182-16-100-1.asia.cloud (182.16.100.1) 0.91 ms AS45753 中国, 香港, simcentric.com 2 * 3 182.16.120.73 0.39 ms AS45753 中国, 香港, simcentric.com 4 182.16.120.65 0.54 ms AS45753 中国, 香港, simcentric.com 5 103.199.104.74 0.94 ms AS45753 中国, 香港, netsec.com 6 103.199.104.45 0.89 ms AS45753 中国, 香港, netsec.com 7 unknown.telstraglobal.net (210.57.80.225) 1.16 ms AS4637 中国, 香港, telstra.com 8 i-97.hkth-core02.telstraglobal.net (202.84.156.53) 3.71 ms AS4637 中国, 香港, telstra.com 9 i-97.hkth-core02.telstraglobal.net (202.84.156.53) 31.67 ms AS4637 中国, 香港, telstra.com 10 i-15152.sgcn-core01.telstraglobal.net (202.84.141.109) 32.61 ms AS4637 新加坡, telstra.com 11 i-15152.sgcn-core01.telstraglobal.net (202.84.141.109) 32.71 ms AS4637 新加坡, telstra.com 12 i-91.istt04.telstraglobal.net (202.84.224.197) 32.21 ms AS4637 新加坡, telstra.com 13 unknown.telstraglobal.net (210.57.30.130) 32.74 ms AS4637 新加坡, telstra.com 14 59.43.189.201 42.97 ms * 中国, 广东, 广州, chinatelecom.com.cn, 电信 15 * 16 59.43.130.149 45.29 ms * 中国, 广东, 广州, chinatelecom.com.cn, 电信 17 59.43.140.34 57.97 ms * 中国, 福建, chinatelecom.com.cn, 电信 18 * 19 27.159.81.198 78.28 ms AS133775 中国, 福建, 厦门, chinatelecom.com.cn, 电信 20 117.25.141.106 74.71 ms AS133775 中国, 福建, 厦门, chinatelecom.com.cn, 电信 21 117.28.254.129 63.13 ms AS4809 中国, 福建, 厦门, chinatelecom.com.cn, 电信 ---------------------------------------------------------------------- 重庆联通 traceroute to 113.207.25.138 (113.207.25.138), 30 hops max, 32 byte packets 1 182-16-100-1.asia.cloud (182.16.100.1) 0.90 ms AS45753 中国, 香港, simcentric.com 2 * 3 182.16.120.73 0.61 ms AS45753 中国, 香港, simcentric.com 4 182.16.120.65 0.80 ms AS45753 中国, 香港, simcentric.com 5 103.199.104.70 1.91 ms AS45753 中国, 香港, netsec.com 6 121.189.2.49 1.63 ms AS4766 KT.COM 骨干网, kt.com 7 112.174.87.225 65.68 ms AS4766 KT.COM 骨干网, kt.com 8 112.190.31.189 68.27 ms AS4766 韩国, kt.com 9 112.190.31.186 68.97 ms AS4766 韩国, kt.com 10 219.158.43.245 67.72 ms AS4837 中国, 北京, chinaunicom.com, 联通 11 219.158.3.177 71.44 ms AS4837 中国, 北京, chinaunicom.com, 联通 12 219.158.5.153 127.31 ms AS4837 中国, 北京, chinaunicom.com, 联通 13 219.158.101.106 142.36 ms AS4837 中国, 重庆, chinaunicom.com, 联通 14 113.207.25.138 117.23 ms AS4837 中国, 重庆, chinaunicom.com, 联通 ---------------------------------------------------------------------- 成都联通 traceroute to 119.6.6.6 (119.6.6.6), 30 hops max, 32 byte packets 1 182-16-100-1.asia.cloud (182.16.100.1) 1.44 ms AS45753 中国, 香港, simcentric.com 2 * 3 182.16.120.73 0.37 ms AS45753 中国, 香港, simcentric.com 4 182.16.120.65 5.11 ms AS45753 中国, 香港, simcentric.com 5 103.199.104.70 2.01 ms AS45753 中国, 香港, netsec.com 6 43.252.84.209 2.65 ms AS10099 中国, 香港, chinaunicom.com, 联通 7 202.77.18.194 4.11 ms AS10099 中国, 香港, chinaunicom.com, 联通 8 43.252.86.129 9.25 ms AS10099 中国, 香港, chinaunicom.com, 联通 9 219.158.20.97 11.86 ms AS4837 中国, 北京, chinaunicom.com, 联通 10 219.158.24.133 8.92 ms AS4837 中国, 广东, 广州, chinaunicom.com, 联通 11 219.158.97.1 56.46 ms AS4837 中国, 广东, 广州, chinaunicom.com, 联通 12 219.158.97.74 86.03 ms AS4837 中国, 四川, 成都, chinaunicom.com, 联通 13 119.6.197.170 66.94 ms AS4837 中国, 四川, 成都, chinaunicom.com, 联通 14 119.7.220.226 67.00 ms AS4837 中国, 四川, 成都, chinaunicom.com, 联通 15 119.6.6.6 72.98 ms AS4837 中国, 四川, 成都, chinaunicom.com, 联通 ---------------------------------------------------------------------- 上海移动 traceroute to 120.204.197.126 (120.204.197.126), 30 hops max, 32 byte packets 1 182-16-100-1.asia.cloud (182.16.100.1) 1.80 ms AS45753 中国, 香港, simcentric.com 2 182.16.120.107 0.33 ms AS45753 中国, 香港, simcentric.com 3 182.16.120.73 0.57 ms AS45753 中国, 香港, simcentric.com 4 182.16.120.65 0.94 ms AS45753 中国, 香港, simcentric.com 5 103.199.104.70 1.23 ms AS45753 中国, 香港, netsec.com 6 223.119.0.129 3.06 ms AS58453 中国, 香港, chinamobile.com, 移动 7 223.120.3.85 2.65 ms AS58453 中国, 香港, chinamobile.com, 移动 8 223.120.2.82 6.68 ms AS58453 中国, 广东, 广州, chinamobile.com, 移动 9 223.120.22.9 34.38 ms AS58453 中国, 上海, chinamobile.com, 移动 10 221.183.55.46 34.70 ms AS9808 中国, 上海, chinamobile.com, 移动 11 221.183.25.189 35.21 ms AS9808 中国, 上海, chinamobile.com, 移动 12 221.176.22.29 35.57 ms AS9808 中国, 上海, chinamobile.com, 移动 13 111.24.3.93 43.79 ms AS9808 中国, 上海, chinamobile.com, 移动 14 * 15 117.185.10.234 35.88 ms AS9808 中国, 上海, chinamobile.com, 移动 16 120.204.194.10 39.06 ms AS9808 中国, 上海, chinamobile.com, 移动 17 120.204.197.126 35.83 ms AS9808 中国, 上海, chinamobile.com, 移动 ---------------------------------------------------------------------- 成都移动 traceroute to 183.221.253.100 (183.221.253.100), 30 hops max, 32 byte packets 1 182-16-100-1.asia.cloud (182.16.100.1) 1.42 ms AS45753 中国, 香港, simcentric.com 2 * 3 182.16.120.73 0.92 ms AS45753 中国, 香港, simcentric.com 4 182.16.120.65 0.79 ms AS45753 中国, 香港, simcentric.com 5 103.199.104.70 1.46 ms AS45753 中国, 香港, netsec.com 6 223.119.0.129 2.40 ms AS58453 中国, 香港, chinamobile.com, 移动 7 223.120.3.85 2.21 ms AS58453 中国, 香港, chinamobile.com, 移动 8 223.120.2.82 7.55 ms AS58453 中国, 广东, 广州, chinamobile.com, 移动 9 221.183.55.82 8.01 ms AS9808 中国, 广东, 广州, chinamobile.com, 移动 10 221.183.25.118 8.18 ms AS9808 中国, 广东, 广州, chinamobile.com, 移动 11 221.176.22.105 7.74 ms AS9808 中国, 广东, 广州, chinamobile.com, 移动 12 221.183.22.34 8.55 ms AS9808 中国, 广东, 广州, chinamobile.com, 移动 13 221.183.11.74 20.79 ms AS9808 中国, 广东, 广州, chinamobile.com, 移动 14 117.134.42.122 9.40 ms AS9808 中国, 广东, 广州, chinamobile.com, 移动 15 183.221.253.100 8.43 ms AS9808 中国, 四川, 成都, chinamobile.com, 移动 ----------------------------------------------------------------------
综合性能测试结果:单线程UnixBench跑分498,双线程跑分941.2。得分小于400的性能比较差、500-1000正常、大于1000优秀、大于2000极好。当然跑分不是认定机器好坏的唯一标准,需要综合考虑。这里跑分值属于正常级别。

宝塔跑分测试结果:安装包装仅用时2分钟,跑分9809,性能还行!


测评总结:线路方面,去程走各自骨干线路,电信为CN2线路,回程三网强制CN2 GIA。延时方面较小,读写速度不错,基本不丢包,综合性能还不错,适合建站等业务。
老刘测评




















